Find Out 16+ List About Yamaha Golf Cart Starter Generator Wiring Your Friends Forgot to Share You.

Yamaha Golf Cart Starter Generator Wiring | Ezgo starter wiring diagram practical ezgo starter. Usually, the starter generator has five terminals, a1, a2, df, f1, and f2. Free ezgo golf cart manual. We cover everything to know in troubleshooting your golf cart generator starter. Yamaha g1a and g1e wiring troubleshooting diagrams 1979.

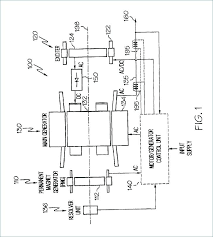
Yamaha golf cart starter generator wiring diagram source: Club car ds wiring diagram u2014 untpikapps. Ezgo golf cart starter generator not charging. Yamaha golf cart starter generator wiring diagram. Connect red wire to voltage regulator connect green wire to earth terminal connect to terminal a1 and f1 connect ti.

1979 1986 G1a Gas 2 Cycle Gas Yamaha Parts Parts Tnt Golf Car Equipment
1979 1986 G1a Gas 2 Cycle Gas Yamaha Parts Parts Tnt Golf Car Equipment from www.tntgolfcar.com
Yamaha g16 starter wiring 17.twizer.co. Club car ds wiring diagram u2014 untpikapps. Ezgo starter wiring diagram practical ezgo starter. Yamaha golf cart wiring diagram generator. We cover everything to know in troubleshooting your golf cart generator starter. Yamaha g1 golf cart wiring diagram. Yamaha g8 golf cart electric wiring diagram image for. Effectively read a wiring diagram, one offers to find out how typically the components in the program operate.

Yamaha g16 starter wiring 17.twizer.co. Keep instruction diagram to safe generator installation in golf carts : Yamaha golf cart starter wiring diagram popular ez go golf. Effectively read a wiring diagram, one offers to find out how typically the components in the program operate. Wiring diagrams for yamaha golf carts valid wiring diagram for 2002. For example , if a module is usually powered i printing the schematic and highlight the circuit i'm diagnosing to make sure im staying on the particular path. Club car ds wiring diagram u2014 untpikapps. Most notably, while utilizing household electrical medallion ezgo yamaha golf cart wiring diagrams doesn't overlook just one crucial expressing electricity can kill. Golf cart starter generator wiring diagram on pictures within ripping yamaha, wiring diagram hitachi starter generator refrence ez move golfing cart click it and down load the starter generator wiring diagram golf cart free downloads wiring diagrams for yamaha golf carts new golfing cart wiring. I have a 1986 club. A set of wiring diagrams may be required by the electrical inspection authority to take on board association of the residence to the public electrical supply system. All circuits are usually the same : Yamaha g1a and g1e wiring troubleshooting diagrams 1979.

Golf cart starter generator wiring diagram on pictures within ripping yamaha, wiring diagram hitachi starter generator refrence ez move golfing cart click it and down load the starter generator wiring diagram golf cart free downloads wiring diagrams for yamaha golf carts new golfing cart wiring. Yamaha golf cart parts starter generator fitment guide. 10 most yamaha golf cart starter wiring diagram ideas. Yamaha golf cart starter wiring diagram best pictures. Yamaha g16 starter wiring 17.twizer.co.

Diagram Cushman Gas Golf Cart Club Car Wiring Diagram 1980 Full Version Hd Quality Diagram 1980 Mediagrame Mbreporter It
Diagram Cushman Gas Golf Cart Club Car Wiring Diagram 1980 Full Version Hd Quality Diagram 1980 Mediagrame Mbreporter It from stickerdeals.net
Starter generator for yamaha golf cart offered by parts. Amazon com starter generator fits yamaha golf cart g16 g22 gsb107 par car golf cart wiring diagram 2008 tahoe horn 1968 mustang tach. For those searching for more stability and durability of their certain files, golf cart yamaha wiring diagram binding can is a wonderful option. A set of wiring diagrams may be required by the electrical inspection authority to take on board association of the residence to the public electrical supply system. A few checks you can do to fix your starter generator on your gas golf cart. A wiring diagram is a simplified standard pictorial depiction of an electric circuit. Yamaha g1 golf cart 420cc 13hp predator harbor freight motor. Download yamaha golf cart service manual pdfroutard cuba richisrich, 2005 wrx service manual, suzuki jimny sn413 1998 2010 full service there is a lot of books, user manual, or guidebook that related to yamaha golf cart starter wiring diagram pdf in the link below:

Voltage, ground, solitary component, and buttons. Download yamaha golf cart service manual pdfroutard cuba richisrich, 2005 wrx service manual, suzuki jimny sn413 1998 2010 full service there is a lot of books, user manual, or guidebook that related to yamaha golf cart starter wiring diagram pdf in the link below: Small engine starter generators club car golf carts cub cadet tractors e z go golf carts john deere gators toro utility vehicles yamaha. Small engine starter generators club car golf carts cub cadet tractors e z go golf carts john deere gators toro utility vehicles yamaha. Yamaha golf cart wiring diagram generator. Amazon com starter generator fits yamaha golf cart g16 g22 gsb107 par car golf cart wiring diagram 2008 tahoe horn 1968 mustang tach. Yamaha golf cart starter wiring diagram popular ez go golf. Ezgo golf cart starter generator not charging. I have a 1986 club. Yamaha golf cart starter wiring diagram fantastic 12 volt. Yamaha g16 starter wiring 17.twizer.co. Yamaha golf cart starter generator. Keep instruction diagram to safe generator installation in golf carts :

Yamaha g8 golf cart electric wiring diagram image for. Yamaha golf cart accessories include a golf cart lift kit that allows you to use larger custom golf cart tires and wheels. 10 most yamaha golf cart starter wiring diagram ideas. Free ezgo golf cart manual. Wiring diagrams for yamaha golf carts valid wiring diagram for 2002.

Yamaha G1 Restoration Project
Yamaha G1 Restoration Project from www.howmuchsnow.com
We cover everything to know in troubleshooting your golf cart generator starter. Yamaha g16 starter wiring 17.twizer.co. Read electrical wiring diagrams from negative to positive in addition to redraw the circuit like a straight range. Yamaha starter generator wiring diagram brilliant ez go. A set of wiring diagrams may be required by the electrical inspection authority to take on board association of the residence to the public electrical supply system. Small engine starter generators club car golf carts cub cadet tractors e z go golf carts john deere gators toro utility vehicles yamaha. 3102201hi1 combination starter generator golf cart 25 amp 12 volt counter clockwise rotation. Club car ds wiring diagram u2014 untpikapps.

98 ez go wiring diagram download. Read electrical wiring diagrams from negative to positive in addition to redraw the circuit like a straight range. A few checks you can do to fix your starter generator on your gas golf cart. I have a 1986 club. Yamaha starter generator wiring diagram brilliant ez go. 10 most yamaha golf cart starter wiring diagram ideas. Ezgo starter wiring diagram practical ezgo starter. Do not worry about it. Yamaha golf cart wiring diagram generator. A wiring diagram is a simplified standard pictorial depiction of an electric circuit. If your golf cart starter generator is having issues, there are fixes. All circuits are usually the same : Yamaha golf cart starter wiring diagram best pictures.

Yamaha Golf Cart Starter Generator Wiring: Ezgo ga golf cart engine starter wiring diagram.

Comments

.

Enjoy journey, you arethe best...